This Technical Note discusses the ways of measuring the water flow within a drainage layer in a laboratory. The most important property to specify for a drainage layer is adequate water flow along the length of the drainage layer – which could be in the form of a drainage geocomposite or porous drainage gravel. This could be direct flow testing of a drainage geocomposite, or assessment of the permeability of porous drainage gravel.
There are three terms that are typically used to specify the required water flow within a drainage layer: In-plane flow, transmissivity, and permeability.
In-plane Flow
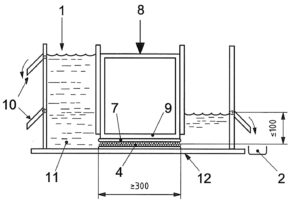
In-plane flow is measured in accordance with EN ISO 12958 and it is the recommended method for measuring water flow within a drainage geocomposite. The test involves measuring water flow through a sample of the drainage geosynthetic at a specific hydraulic head (see Figure 1).
The test sample is placed in the test rig under a defined compressive stress between either soft, or occasionally hard, platens. Soft platens are used to simulate soil causing geotextile intrusion into the core of the geocomposite which may restrict flow – something that can be very significant in some situations.
As a default, soft platens should be used for all test data as hard platens represent unusual practice applications.


Figure 1: EN ISO 12958 test set up
In-plane flow is defined as the outflow rate (in litres per second) divided by the width of the sample tested.

Each flow test is reported with the hydraulic gradient, compressive stress, and type of platens used during tests. By testing at several different hydraulic gradients for each compressive stress, and interpolating between results, a flow chart can be assembled which will allow the maximum flow rate in the geocomposite to be estimated for any given hydraulic gradient (see Figure 2).

Figure 2: Typical In-plane water flow in a geocomposite
Transmissivity
The test method for measuring transmissivity (or hydraulic transmissivity to give it its full name) is defined by ASTM D4716 and the test method is effectively the same as EN ISO 12958. The difference between these two methods is in the reporting of the results. Transmissivity is defined as the outflow rate (in cubic metres per second) divided by the width of the sample tested and the hydraulic gradient.

Transmissivity is based on the idea that flow is directly proportional to hydraulic gradient. That is, a plot of flow vs. hydraulic gradient would be a straight line as would be expected in laminar flow situations. However, in drainage geocomposites the flow is not laminar and the relationship between flow and hydraulic gradient is not linear (see Figure 2).
Permeability
When considering the water flow through a drainage layer made of porous gravel it is standard practice to use permeability to assess the maximum flow rate within the drainage layer. “The permeability of a soil is a measure of its capacity to allow the flow of water through the pore spaces between solid particles” (BS 1377-5:1990).
When considering drainage gravel, permeability is measured in the laboratory using the methods described in BS 1377-5:1990 (see Figure 3). The test procedure is similar in principle to that used with drainage geocomposites, in that a constant hydraulic gradient is applied to a saturated gravel sample and the rate of outflow is measured.
The permeability of the gravel (k) is assessed in a similar manner to assessing transmissivity in a drainage geocomposite.


Figure 3: BS 1377-5 Test Set up diagram
As with transmissivity, this assumes that flow is laminar and that flow is directly proportional to hydraulic gradient. With finer grained soils where permeability is low, this is approximately correct. However, in coarser grained soils such as drainage gravel the flow rates are very low, the relationship between flow and hydraulic gradient is not linear (Mulqueen, 2005). However, as the relationship is close to linear it is standard practice to assume constant permeability in drainage gravel.
Comparison
In-Plane Flow vs. Transmissivity
In-plane flow testing in accordance with EN ISO 12958, and transmissivity testing in accordance with ASTM D4716 are effectively the same test. However, when comparing values of transmissivity and In-plane flow it is important to understand the test conditions. Principally, the hydraulic gradient, compressive stress, and type of platens used during testing. If the tests for two products were conducted in different conditions it is difficult to accurately compare the results as the relationship between flow and hydraulic gradient in a geocomposite is not linear, and the flow behaviour under different platens and compressive stresses can vary significantly between drainage geocomposites.
Geocomposite Flow Results vs Gravel Flow
The best method for comparing geocomposite flow results with water flow in a drainage layer is to compare results in the conditions that are expected on site. For example, in a vertical drainage situation behind a retaining wall, the geocomposite flow results should be at a hydraulic gradient of 1.0, using soft platens, at a pressure related to the maximum horizontal earth pressure at the base of the wall. The maximum water flow rate in gravel can be assessed using Darcy’s Law (see Figure 4), and compared directly with suitable geocomposite flow results.

Figure 4: Water flow in a gravel drainage layer using Darcy’s Law
Conclusion
Water flow in a drainage geocomposite should be measured by In-plane flow testing in accordance with EN ISO 12958, or transmissivity testing in accordance with ASTM D4716. These methods are effectively the same test, but they report the results differently. When comparing values of transmissivity and in-plane flow it is important to understand the test conditions. Principally, the hydraulic gradient, compressive stress, and type of platens used during testing.
Water flow in a gravel drainage layer is assessed by measuring the permeability in accordance with BS 1377 5:1990. These results can be compared directly with geocomposite water flow results using Darcy’s Law for the conditions that are expected on site.
References
ASTM D4716 / D4716M-20, Standard Test Method for Determining the (In-plane) Flow Rate per Unit Width and Hydraulic Transmissivity of a Geosynthetic Using a Constant Head, ASTM International, West Conshohocken, PA, 2020, www.astm.org
British Standards Institution, BS 1377-5:1990 – Methods of test for soils for civil engineering purposes. Compressibility, permeability and durability tests
EN ISO 12958:2020 – Geotextiles and geotextile-related products – Determination of water flow capacity in their plane (ISO 12958:2020)
Mulqueen, J. (2005). The Flow of Water through Gravels. Irish Journal of Agricultural and Food Research, 44(1), 83-94.